Όπως δείχνει τουλάχιστον νέα αίτηση για πατέντα, φαίνεται η Sony και έχει μπει σε μια διαδικασία ala Nintendo…
Μια νέα πατέντα της Sony δείχνει κάτι ενδιαφέρον. Η πατέντα είχε κατατεθεί πίσω στο 2010 και δείχνει τα σχέδια της Sony για μια ενδεχομένως συσκευή που θα λειτουργεί με αφή και έχει σχέση με το gaming.
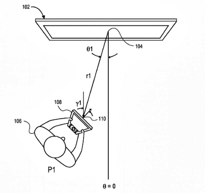
H πατέντα έχει τον τίτλο “Position-dependent gaming, 3-D controller, and handheld as a remote,” και η συσκευή όπως αναφέρεται έχει την δυνατότητα να αναφέρει τη θέση της και να “…input to a video game,” να την εισάγει δηλαδή σε ένα παιχνίδι.
Υπάρχει και η δυνατότητα για render “… ενός avatar σε μια συσκευή,” με διάδραση σε κανονικό κόσμο.
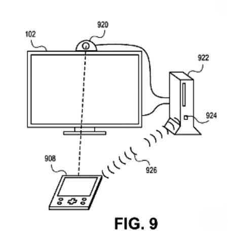
Σήμερα το Sony PlayStation Vita μπορεί να κάνει share των saves και να μεταφέρει και δεδομένα από/προς ένα PlayStation 3, ή και να δουλεύει ως PlayStation 3 controller με συμβατά παιχνίδια.
Για να δούμε…
