Gadgetfreak :: Not Just Tech
consumer electronics

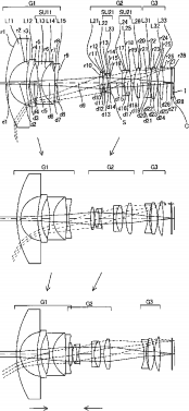
Πατέντα για έναν Olympus 8-20mm f/2.8-4;

Μια νέα πατέντα στην Ιαπωνία δείχνει έναν 8-20mm f/2.8-4 φακό της εταιρίας. Στοιχεία;

Ένας ΠΟΛΥ ενδιαφέρον φακός  ενώ η πατέντα έχει υπολισμούς και για έναν επίσης… πονηρό 8-35mm f/2.2-4.0 και έναν 8-74mm f/2.8-4 (!)

Related posts

Το ‘μικρό’ EX-S1000

gadgetfreak
14 years ago

Η πρώτη Foldable Outdoor MicroLED τηλεόραση 201′

gadgetfreak
4 years ago

Εργονομικό e-reader…

gadgetfreak
13 years ago
Exit mobile version