Και ακόμη ένας; Η αλήθεια είναι πως έχει εξαιρετικό ενδιαφέρον ο Sony φακός της πατέντας 2013-54164 αφού αφορά έναν 16-135mm f/3.5-5.6 και έναν 18-135mm f/3.5-5.6 APS-C. Χρηστικοί…
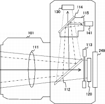
Ταυτόχρονα η εταιρία έριξε και μια πατέντα για έναν νέο καθρέπτη, (2013-50630) που είναι ‘μισός’ και δεν προκαλεί “black out” στην έκθεση.
Related posts
Categories
- android World
- cinemart / music / video
- comicmania / books
- computing / social media
- consumer electronics
- design / architecture
- ecotech / electric
- exhibitions
- faq / Infographics
- futuristas / iDea
- gadgetfreak taste
- gadgets / stuff
- gaming / fun
- iOS World
- legends / special
- men's world
- military / aviation
- mobile / smartphones
- space talk
- tablets / multimedia
- tech talk / science
- transport / concept



