Μια ακόμη πατέντα. Μια πατέντα που περιγράφεται ως “Peripheral treatment for head-mounted displays.”

Αυτό που, λέει, πως θα κάνει είναι να προβάλει εικόνες στον χρήστη μέσω μιας εικόνας. Κάτι σαν ανταγωνιστής των Google Glass.

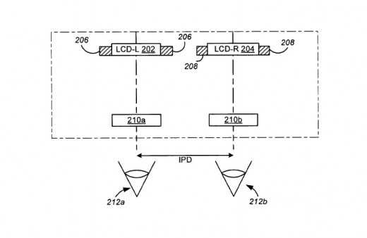
Από την άλλη δεν είναι το ίδιο αφού είναι σχεδιασμένο για “full immersion display” και αφαιρεί την περιφερειακή όραση από τον χρήστη ενώ τα Google Glass έχουν την ιδέας της ‘επαυξημένης’ πραγματικότητας.

Ουσιαστικά ένας wearable υπολογιστής περισσότερο ενώ διαφορετική ιδέα δίνει και το ότι είναι δυνατό να προβάλεται διαφορετική εικόνα σε κάθε μάτι.